mobile menu icon P2R logo

Vehicle Exploded View - PIAGGIO X8 200 1998-2005 PIAGGIO

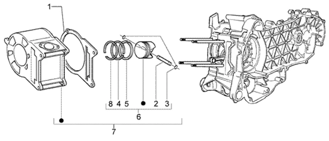
Moteur : T4 ENSEMBLE CYLINDRE-PISTON-AXE DE PISTON
ENSEMBLE CYLINDRE-PISTON-AXE DE PISTON
Search
CYLINDER BASE GASKET (0,04MM) "PIAGGIO GENUINE PART" COMMON TO THE RANGE 125-250-300 -875112

1

P2R reference P2R reference
Maker reference Maker reference
More information

Quantity required : 1

CYLINDER BASE GASKET (0,06MM) "PIAGGIO GENUINE PART" COMMON TO THE RANGE 125-250-300 -875113

1

P2R reference P2R reference
Maker reference Maker reference
More information

Quantity required : 1

CYLINDER BASE GASKET(0,08MM) "PIAGGIO GENUINE PART" COMMON TO THE RANGE 125-250-300 -875114

1

P2R reference P2R reference
Maker reference Maker reference
More information

Quantity required : 1

829529 - AXE

2

P2R reference P2R reference
Maker reference Maker reference
More information

Quantity required : 1

STOP RING FOR PISTON "PIAGGIO GENUINE PART"- LEADER ENGINE 125-250 -963486

3

P2R reference P2R reference
Maker reference Maker reference
More information

Quantity required : 2

OIL SCRAPER PISTON RING- "PIAGGIO GENUINE PART" COMMON TO THE RANGE MAXISCOOTER 250 CC -484908

4

P2R reference P2R reference
Maker reference Maker reference
More information

Quantity required : 1

OIL SCRAPER PISTON RING- "PIAGGIO GENUINE PART" COMMON TO THE RANGE MAXISCOOTER 250 CC -486363

5

P2R reference P2R reference
Maker reference Maker reference
More information

Quantity required : 1

GROUPE PISTON

6

P2R reference P2R reference
Maker reference Maker reference
GROUPE PISTOM

6

P2R reference P2R reference
Maker reference Maker reference
GROUPE PISTON

6

P2R reference P2R reference
Maker reference Maker reference
GROUPE PISTON

6

P2R reference P2R reference
Maker reference Maker reference
8432900001 - GROUPE PISTON 2004T/4V

6

P2R reference P2R reference
Maker reference Maker reference
More information

Quantity required : 1

8432900002 - GROUPE PISTON 2004T/4V

6

P2R reference P2R reference
Maker reference Maker reference
More information

Quantity required : 1

8432900003 - GROUPE PISTOM

6

P2R reference P2R reference
Maker reference Maker reference
More information

Quantity required : 1

8432900004 - GROUPE PISTON

6

P2R reference P2R reference
Maker reference Maker reference
More information

Quantity required : 1

CYLINDER/PISTON ASSEMBLY "PIAGGIO GENUINE PART" X8 200/ VESPA GT 200/ GILERA RUNNER 200/ APRILIA ATLANTIC 200, SPORT-CITY 200  -843291-

7

P2R reference P2R reference
Maker reference Maker reference
More information

Quantity required : 1

PISTON COMPRESSION RING- "PIAGGIO GENUINE PART" COMMON TO THE RANGE MAXISCOOTER 250 CC -830486

8

P2R reference P2R reference
Maker reference Maker reference
More information

Quantity required : 1

All the exploded views of this vehicle

Filter :
Or choose :