mobile menu icon P2R logo

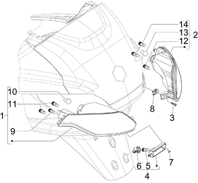
Vehicle Exploded View - PIAGGIO MP3 125 2006-2008 PIAGGIO

Installation électrique : 06.04 ECLAIRAGES ARRIÈRE - CLIGNOTANTS
Eclairages arrière - Clignotants
Search
TAILLIGHT- LEFT WITH FLASHER "PIAGGIO GENUINE PART" 125-250-400 MP3 2007> 300-500 MP3 2010> -642168

1

P2R reference P2R reference
Maker reference Maker reference
More information

Quantity required : 1

FLASHER-REAR-LEFT "PIAGGIO GENUINE PART" 125-250-300-400-500 MP3  -640551-

1

P2R reference P2R reference
Maker reference Maker reference
Replaced by référence
More information

Quantity required : 1

TAILLIGHT- RIGHT WITH FLASHER "PIAGGIO GENUINE PART" 125-250-400 MP3 2007>, 300-500 MP3 2010> -642167

2

P2R reference P2R reference
Maker reference Maker reference
More information

Quantity required : 1

FLASHER-REAR-RIGHT "PIAGGIO GENUINE PART" 125-250-400 MP3 2007>300 MP3 2011> -640550

2

P2R reference P2R reference
Maker reference Maker reference
Replaced by référence
More information

Quantity required : 1

SCREW - (6x20) "PIAGGIO GENUINE PART" COMMON TO ALL THE RANGE -259830

3

P2R reference P2R reference
Maker reference Maker reference
More information

Quantity required : 2

REGISTRATION PLATE LIGHT "PIAGGIO GENUINE PART" 125-250-400 X-EVO, X8, 125-250-300 MP3  -640629-

4

P2R reference P2R reference
Maker reference Maker reference
More information

Quantity required : 1

LIGHT BULB 12V 5W "PIAGGIO GENUINE PART" COMMON TO ALL THE RANGE -2920225

5

P2R reference P2R reference
Maker reference Maker reference
More information

Quantity required : 1

584841 - PORTE AMPOULE

6

P2R reference P2R reference
Maker reference Maker reference
More information

Quantity required : 1

268596 - VIS

7

P2R reference P2R reference
Maker reference Maker reference
More information

Quantity required : 2

SPRING PLATE (M6) "PIAGGIO GENUINE PART" COMMON FOR ALL THE RANGE -254485

8

P2R reference P2R reference
Maker reference Maker reference
More information

Quantity required : 2

LIGHT BULB 12V/10W "PIAGGIO GENUINE PART" 400-500 MP3, BEVERLY, 400 X8, X-EVO, 500 X10, X9/GILERA 500 NEXUS, FUOCO, GP 800/APRILIA 400-500 ATLANTIC, SCARABEO, 850 SRV -181746

8

P2R reference P2R reference
Maker reference Maker reference
More information

Quantity required : 2

LIGHT BULB 12V/10W "PIAGGIO GENUINE PART" 400-500 MP3, BEVERLY, 400 X8, X-EVO, 500 X10, X9/GILERA 500 NEXUS, FUOCO, GP 800/APRILIA 400-500 ATLANTIC, SCARABEO, 850 SRV -181746

9

P2R reference P2R reference
Maker reference Maker reference
More information

Quantity required : 1

LIGHT BULB - INDICATOR LIGHT "PIAGGIO GENUINE PART" COMMON TO ALL THE MAXISCOOOTER RANGE -581904

9

P2R reference P2R reference
Maker reference Maker reference
More information

Quantity required : 4

LIGHT BULB 12V 5W "PIAGGIO GENUINE PART" COMMON TO ALL THE RANGE -2920225

10

P2R reference P2R reference
Maker reference Maker reference
More information

Quantity required : 1

LIGHT BULB - INDICATOR LIGHT "PIAGGIO GENUINE PART" COMMON TO ALL THE MAXISCOOOTER RANGE -581904

11

P2R reference P2R reference
Maker reference Maker reference
More information

Quantity required : 2

LIGHT BULB 12V/10W "PIAGGIO GENUINE PART" 400-500 MP3, BEVERLY, 400 X8, X-EVO, 500 X10, X9/GILERA 500 NEXUS, FUOCO, GP 800/APRILIA 400-500 ATLANTIC, SCARABEO, 850 SRV -181746

12

P2R reference P2R reference
Maker reference Maker reference
More information

Quantity required : 1

LIGHT BULB 12V 5W "PIAGGIO GENUINE PART" COMMON TO ALL THE RANGE -2920225

13

P2R reference P2R reference
Maker reference Maker reference
More information

Quantity required : 1

LIGHT BULB - INDICATOR LIGHT "PIAGGIO GENUINE PART" COMMON TO ALL THE MAXISCOOOTER RANGE -581904

14

P2R reference P2R reference
Maker reference Maker reference
More information

Quantity required : 2

All the exploded views of this vehicle

Filter :
Or choose :