mobile menu icon P2R logo

Vehicle Exploded View - APRILIA RX 50 2003-2004 APRILIA

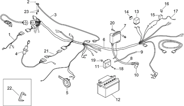
Chassis : 28.28 CIRCUIT ELECTRIQUE
Circuit electrique
Search
AP8212434 - CABLAGE FEU AV

1

P2R reference P2R reference
Maker reference Maker reference
More information

Quantity required : 1

AP8201326 - BILLE

2

P2R reference P2R reference
Maker reference Maker reference
More information

Quantity required : 1

STOP SWITCH+WIRING "PIAGGIO GENUINE PART" APRILIA 50 RS, SX, RX, MX, CLASSIC, TUONO, 125 PEGASO, TUONO, 600-650 PEGASO -AP8212196

3

P2R reference P2R reference
Maker reference Maker reference
More information

Quantity required : 1

Bloc démarreur-bloc;

4

P2R reference P2R reference
Maker reference Maker reference
AP8212753 - KLAXON

5

P2R reference P2R reference
Maker reference Maker reference
More information

Quantity required : 1

Câblage principal

6

P2R reference P2R reference
Maker reference Maker reference
IGNITION COIL "PIAGGIO GENUINE PART" APRILIA 50 RS 1993>2005, CLASSIC 1992>1999, MX 2004> -AP8212474

7

P2R reference P2R reference
Maker reference Maker reference
More information

Quantity required : 1

CABLE H.T.

8

P2R reference P2R reference
Maker reference Maker reference
AP8112573 - CABLAGE NEGATIF BATT.

9

P2R reference P2R reference
Maker reference Maker reference
More information

Quantity required : 1

AP8212219 - PIPE BOUGIE BLINDEE

10

P2R reference P2R reference
Maker reference Maker reference
More information

Quantity required : 1

VOLTAGE REGULATOR- "PIAGGIO GENUINE PART" 50 RS 1993>2005, RX 2002>2004, MX 2004>, TUAREG 1990>1992, PEGASO, EUROPA, CLASSIC  -AP8212121-

11

P2R reference P2R reference
Maker reference Maker reference
More information

Quantity required : 1

234390 - BATTERIE 12V/4 AH YUASA YB4L-B

12

P2R reference P2R reference
Maker reference Maker reference
More information

Quantity required : 1

FLASHER UNIT "PIAGGIO GENUINE PART" COMMON TO ALL SCOOTER + MAXISCOOTER APRILIA + MOTO 125 CC -AP8124235

13

P2R reference P2R reference
Maker reference Maker reference
More information

Quantity required : 1

AP8212165 - SUPPORT BUZZER

14

P2R reference P2R reference
Maker reference Maker reference
More information

Quantity required : 1

AP8212143 - BLOC FUSIBLES/DIODE

15

P2R reference P2R reference
Maker reference Maker reference
More information

Quantity required : 1

CM225607 - FUSIBLE

16

P2R reference P2R reference
Maker reference Maker reference
More information

Quantity required : 1

AP8112458 - CABLAGE NEGATIF BATT.

17

P2R reference P2R reference
Maker reference Maker reference
More information

Quantity required : 1

AP8152282 - VIS BRIDE

18

P2R reference P2R reference
Maker reference Maker reference
More information

Quantity required : 1

AP8152299 - ECROU AUTOBLOQU.

19

P2R reference P2R reference
Maker reference Maker reference
More information

Quantity required : 7

AP8152280 - VIS BRIDE

20

P2R reference P2R reference
Maker reference Maker reference
More information

Quantity required : 2

AP8224017 - CABLAGE FEU;

21

P2R reference P2R reference
Maker reference Maker reference
More information

Quantity required : 1

AP8121309 - RESSORT CONNECTEURS;

22

P2R reference P2R reference
Maker reference Maker reference
More information

Quantity required : 1

AP8150238 - VIS

23

P2R reference P2R reference
Maker reference Maker reference
More information

Quantity required : 2

All the exploded views of this vehicle

Filter :
Or choose :