mobile menu icon P2R logo

Vehicle Exploded View - VESPA VESPA PRIMAVERA 50 2T NO ABS E2-E3 2013-2017 EMEA VESPA

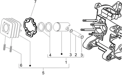
Moteur : 01.07 GROUPE CYLINDRE-PISTON-AXE
Groupe cylindre-piston-axe
Search
PISTON "PIAGGIO GENUINE PART" 50 ZIP 1996>, TYPHOON 1996>, FLY 2 stroke 2005>, LIBERTY 2 stroke 1998>, NRG 1998>, VESPA LX 2 stroke, VESPA-S 2 stroke 2007>/GILERA 50 RUNNER, STALKER/APRILIA 50 SR 2012> CAT-1(M) -4878020001

1

P2R reference P2R reference
Maker reference Maker reference
More information

Quantity required : 1

PISTON "PIAGGIO GENUINE PART" 50 ZIP 1995>, TYPHOON 1995>, NRG 1997>, LIBERTY 2000>, FLY 2005>, VESPA LX 2005>/GILERA 50 RUNNER 1997>, STALKER 1997>/APRILIA 50 SR 2003> CAT-2(N) -4878020002

1

P2R reference P2R reference
Maker reference Maker reference
More information

Quantity required : 1

PISTON "PIAGGIO GENUINE PART" 50 ZIP 1996>, TYPHOON 1996>, FLY 2 stroke 2005>, LIBERTY 2 stroke 1998>, NRG 1998>, VESPA LX 2 stroke, VESPA-S 2 stroke 2007>/GILERA 50 RUNNER, STALKER/APRILIA 50 SR 2012> CAT-3(O) -4878020003

1

P2R reference P2R reference
Maker reference Maker reference
More information

Quantity required : 1

PISTON "PIAGGIO GENUINE PART" 50 ZIP 1995>, TYPHOON 1995>, NRG 1997>, LIBERTY 2000>, FLY 2005>, VESPA LX 2005>/GILERA 50 RUNNER 1997>, STALKER 1997>/APRILIA 50 SR 2003> CAT-4(P) -4878020004

1

P2R reference P2R reference
Maker reference Maker reference
More information

Quantity required : 1

PISTON PIN "PIAGGIO GENUINE PART" COMMON TO ALL THE RANGE SCOOTER 50cc -239404

2

P2R reference P2R reference
Maker reference Maker reference
More information

Quantity required : 1

STOP RING FOR PISTON "PIAGGIO GENUINE PART" COMMON TO ALL SCOOTER 50 cc 2 stroke -239455

3

P2R reference P2R reference
Maker reference Maker reference
More information

Quantity required : 2

PISTON RING- "PIAGGIO GENUINE PART" 50 TYPHOON 1995>, NRG 1998>, ZIP 2000>, VESPA LX 2005>, LIBERTY 1998>,FLY 2 stroke 2005>/APRILIA 50 SR 2010>/GILERA 50 STALKER 1997>, RUNNER 1997> (VENDU A L UNITE) -825416

4

P2R reference P2R reference
Maker reference Maker reference
More information

Quantity required : 2

CYLINDER/PISTON ASSEMBLY "PIAGGIO GENUINE PART" PIAGGIO 50 ZIP, FLY, TYPHOON, VESPA LX/GILERA 50 STALKER/APRILIA 50 SR (LIVRE SANS JOINT) -831116

5

P2R reference P2R reference
Maker reference Maker reference
More information

Quantity required : 1

EXHAUST STUD BOLT M6 "PIAGGIO GENUINE PART" COMMON TO THE RANGE SCOOTER 50 CC -239397

6

P2R reference P2R reference
Maker reference Maker reference
More information

Quantity required : 2

CYLINDER BASE GASKET "PIAGGIO GENUINE PART" 50 ZIP, TYPHOON, FLY, LIBERTY, VESPA LX/GILERA 50 STALKER/APRILIA 50 SR -286810

7

P2R reference P2R reference
Maker reference Maker reference
More information

Quantity required : 1

All the exploded views of this vehicle

Filter :
Or choose :