mobile menu icon P2R logo

Vehicle Exploded View - APRILIA RXV 550 Vdb-Merriman 2008 APRILIA

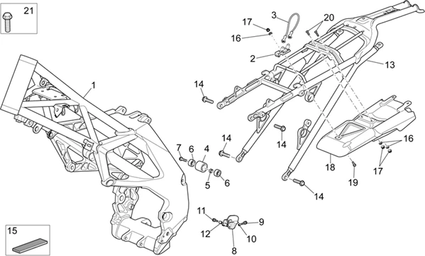
Chassis : 28.01 CHASSIS
Chassis
Search
855308 - CHASSIS COMPLET

1

P2R reference P2R reference
Maker reference Maker reference
More information

Quantity required : 1

CHASSIS

1

P2R reference P2R reference
Maker reference Maker reference
AP9100766 - PIASTRINA FISS.PROTEZ.ANTICAL.

2

P2R reference P2R reference
Maker reference Maker reference
More information

Quantity required : 1

851495 - CABLE

3

P2R reference P2R reference
Maker reference Maker reference
More information

Quantity required : 1

AP9100770 - CAVO RITEGNO SERBATOIO BENZ.

3

P2R reference P2R reference
Maker reference Maker reference
More information

Quantity required : 1

AP9100173 - RULLO CATENA

4

P2R reference P2R reference
Maker reference Maker reference
More information

Quantity required : 1

AP9100174 - DISTANZIALE

5

P2R reference P2R reference
Maker reference Maker reference
More information

Quantity required : 1

AP9100175 - CUSCINETTO A SFERE D8 D22 SP7

6

P2R reference P2R reference
Maker reference Maker reference
More information

Quantity required : 2

853534 - VIS M8X35

7

P2R reference P2R reference
Maker reference Maker reference
More information

Quantity required : 1

AP8152289 - VIS BRIDE

7

P2R reference P2R reference
Maker reference Maker reference
More information

Quantity required : 1

AP9100688 - PATTINO INFERIORE

8

P2R reference P2R reference
Maker reference Maker reference
More information

Quantity required : 1

853536 - VIS M5X12

9

P2R reference P2R reference
Maker reference Maker reference
More information

Quantity required : 1

AP8152272 - VIS BRIDE

9

P2R reference P2R reference
Maker reference Maker reference
More information

Quantity required : 1

AP8120253 - ENTRETOISE

10

P2R reference P2R reference
Maker reference Maker reference
More information

Quantity required : 1

VIS M5x20

11

P2R reference P2R reference
Maker reference Maker reference
855799 - VIS BRIDE M5X0,8 L.28 EX 7

11

P2R reference P2R reference
Maker reference Maker reference
More information

Quantity required : 1

AP8120313 - ENTRETOISE

12

P2R reference P2R reference
Maker reference Maker reference
More information

Quantity required : 1

AP9100724 - DISTANZIALE

12

P2R reference P2R reference
Maker reference Maker reference
More information

Quantity required : 1

855337 - AXE

13

P2R reference P2R reference
Maker reference Maker reference
More information

Quantity required : 1

855309 - CHASSIS COMPLET

13

P2R reference P2R reference
Maker reference Maker reference
More information

Quantity required : 1

853533 - VIS M101,5

14

P2R reference P2R reference
Maker reference Maker reference
More information

Quantity required : 4

AP9100389 - VITE M10X1,25

14

P2R reference P2R reference
Maker reference Maker reference
More information

Quantity required : 4

890517 - JOINT CONVOYEUR G

15

P2R reference P2R reference
Maker reference Maker reference
More information

Quantity required : 2

AP8150159 - RONDELLE

16

P2R reference P2R reference
Maker reference Maker reference
More information

Quantity required : 3

AP8150204 - ECROU AUTOFR. BAS

17

P2R reference P2R reference
Maker reference Maker reference
More information

Quantity required : 3

AP9100243 - PROTEZIONE ANTICALORE

18

P2R reference P2R reference
Maker reference Maker reference
More information

Quantity required : 1

AP9100769 - VITE TBEI M4X10 INOX

19

P2R reference P2R reference
Maker reference Maker reference
More information

Quantity required : 1

AP9100768 - VITE TSP M4X12 INOX

20

P2R reference P2R reference
Maker reference Maker reference
More information

Quantity required : 2

853535 - VIS M8X30

21

P2R reference P2R reference
Maker reference Maker reference
More information

Quantity required : 1

All the exploded views of this vehicle

Filter :
Or choose :