Vehicle Exploded View - DERBI RAMBLA 125 Rambla 125 2ver E3 2008 (EMEA)
Châssis - parties plastiques - carrosseries : 17 SELLE
Search
All the exploded views of this vehicle
Filter :
Or choose :
-
-
1 Béquille
-
10 Tablier interne
-
11 Chassis
-
12 Chassis
-
13 Compart.p-casque
-
14 Selle deux places
-
15 Chassis
-
16 Chassis
-
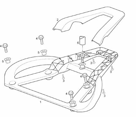
17 Selle
-
18 Tableau de bord
-
19 Guidon
-
2 Béquille
-
20 Commandes
-
21 Commandes
-
22 Radiateur
-
23 Installation refroidissement
-
24 Réservoir essence
-
25 Réservoir essence
-
26 Boîte filtre
-
27 Carburateur
-
28 Carburateur
-
29 Carburateur
-
3 Fourche
-
30 Corps à papillon
-
31 Air secondaire
-
32 Moteur
-
33 Groupe echappement
-
34 Roue Av.
-
35 Pince AV
-
36 Pince AV
-
37 Roue arrière
-
38 Pince AR
-
39 Feux avant
-
4 Fourche
-
40 Phare avant
-
41 Circuit électrique
-
43 Manuel instr.I-D-F-E-UK-NL
-
44 Carters
-
45 Arbre moteur
-
46 Piston
-
47 Culasse
-
48 Arbre allumage
-
49 Soupape
-
5 Engine support
-
50 Tendeur de chaîne
-
51 Filtre à huile
-
52 Embrayage
-
53 Pompe huile
-
54 Transmission
-
55 Variateur
-
56 Démarreur
-
57 Démarreur
-
58 Couvercle variateur
-
59 Volant magnétique
-
6 Amortisseur
-
60 Volant magnétique
-
61 OUTILLAGE SPECIAL
-
62 OUTILLAGE SPECIAL
-
7 Chassis
-
8 Garde-boue Av.
-
9 Tablier Av.